Straight Abutment IH

Straight Titanium Abutment

Read moreShow less
Diameter
Length
Reference:
5030
Add to wishlist
Description

 

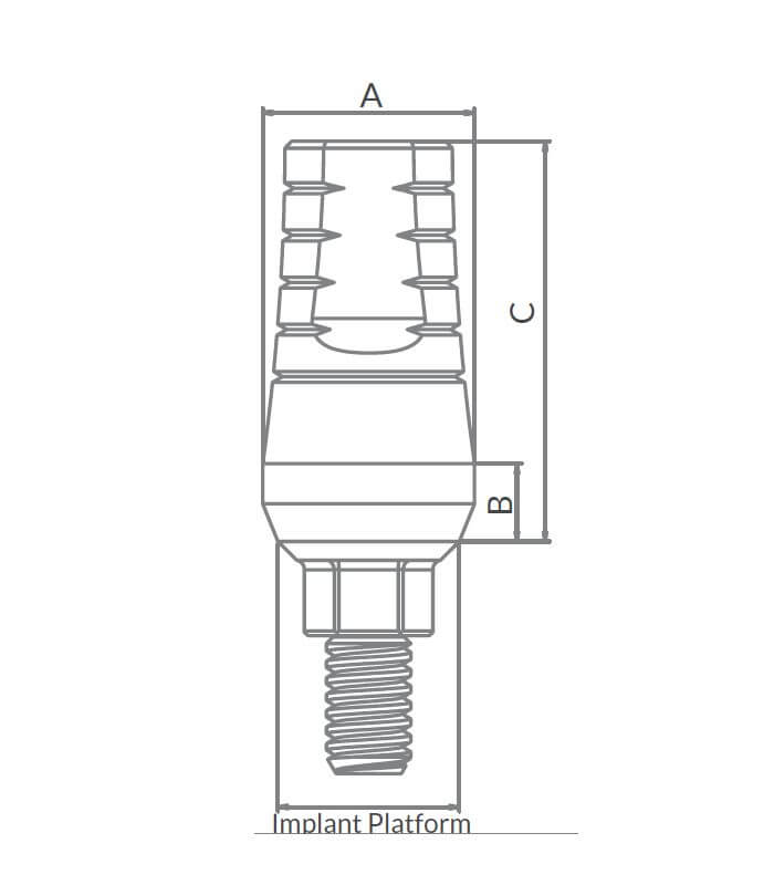
Standard straight titanium abutments for cement-retained restorations (internal hex connection).

 

Read moreShow less
Product Details
5030

Data sheet

Connection type
IH-Internal Hex Connection
Abutment type
Straight
Material
Titanium

Menu

Create a free account to use wishlists.

Sign in